Chapter- 1 Welding and Welding Processes
Classification of Welding and Allied Processes
Although almost all materials (metals, plastics, ceramics, and composites) can be welded but not by the same process. Toachieve this universality a large number of Welding and Allied Processes have been developed. Most of the industrially important processes amongst them classified depending upon the nature of heat source and its movement resulting in spot, seam or zon,alwelds; or on the extent of heat generation viz., low heat and high heat, are shown in Fig. This rather unusual type of process classification has been chosen because often these processes will be referred to accordingly in the remaining text .
Brief description and important uses of these processes are given in the following sections.
Cast-Weld Processes
These processes involve large amount of molten metal resulting in properties close to that of castings. For achieving the desired joint properties such welds are usually given normalisation treatment. Two processes in this class are Thermit Welding and Electroslag Welding.
Thermit Welding
Thermit is a mixture of aluminium powder and metal oxide which when ignited results in a non-Explosive exothermic reaction. The heat so generated meltfi and reduces the metal oxide to metallic form at a high temperature. This molten metal is used for joining metal parts by pouring it between them resulting in what may be termed as a cast-weld joint .
One of the most used thermit mixtures is aluminium powder and ferric oxide which on ignition results in the following reaction.
8Al + 3Fsa04 ~ 9Fe + 4Al20a + 3310 kJ/mol ...(1.1)
The molten metal obtained has high temperature of about 2450°C. This metal is poured into the sand mould surrounding the parts to be welded, as shown in Fig. The mould is broken soon after the solidification of metal is complete and the excess metal is removed, by chisel and hammer, to give the necessary shape to the weld.
Thermit welding is extensively used for joining rails at site, cable conductors, reinforcing bars for R.C.C. structures, and for heavy repairs such as those of broken necks of rollers, and shipsterns.
Electrosiag welding (ESW) is a fusion welding process for joining thick workpieces in a single run. This is not an arc welding process though most of the set-up is similar to the usual arc welding processes and arcing is required to initiate the process and may also occur subsequently when the process stability is disturbed. Apart from the conventional ESW process in which the usual electrode wire with contact tube is employed there is a popular variant of the process called Consumable Guide ESW Process; Fig. shows the process diagram for the latter. An essential feature of the ESW process is that the welding is done with weld joint in vertical position.
Due to high heat input the weld pool in ESW is usually quite voluminous resulting in a weld with properties resembling that of a casting which makes post weld heat treatment (PWHT) essential to achieve the desired metallurgical structure to attain the required mechanical strength. Typically ESW is extensively used in the construction of pressure vessels, press frames, water turbines and hea'vy plate fabrication industries.
Arc and Flame Welding Processes
The welding processes included in this class are those which make use of an electric arc or a flame obtained by burning an oxy-fuel gas mixture. The size of the weld pool evolved depends upon the energy input per unit time, and the extent of spread of arc or flame, however the volume of the molten metal in the weld pool, at any given time, is much smaller than that obtained in electroslag welding. These processes are either used to produce welds along seams (e.g., SMAW,GMAW,Oxy-fuel gas welding, etc.) or just at spots (e.g., stud welding, GTAWspot welding, etc.). Brief descriptions of industrially important processes in this class follows.
Seam Welding Processes
These processes are mainly used for welding workpieces along straight or curved seams of desired lengths and include all well known arc and flame welding processes.
Carbon Arc Welding
In carbon arc welding heat is produced with an arc between a carbon electrode and the work, and normally no shielding gas is used. The heat from the arc melts the work material and filler wire, if required. Fig. shows the basic circdit for carbon arc welding.
To avoid excessive heating and consequently accelerated consumption of carbon electrode it is required to use dc (direct current) power source with electrode negative.
The weld pool produced is normally small and therefore in its manual mode carbon arc welding process can be used as an allposition welding process. Carbon Arc welding can be used for welding copper since it can be used at high current to develop the high heat usually required for the purpose. It can as well be used for welding galvanized steel and repairing of steel castings.
Shielded Metal Arc Welding
This process employs coated or covered electrodes for producing an arc to act as a heat source; the covering on buming provides the necessary shield to protect the molten metal from the ill effects of oxygen and nitrogen from the surrounding atmosphere. This process is more popularly known as Stick
electrode welding or manual metal are welding and is the single most used weldine- process in the world. Both ac and dc power sources can be used equally effectively. Fig. shows the basic circuit diagram for the process.
The weld pool produced depends upon the size of the covered electrode and the welding current used and may vary from very small to fairly large size. Larger sized pools are used only for downhand welding. This process is an all-position welding process and is used for all types of jobs. All metals for which covered electrodes are available can be welded by this process. Because this is a very versatile process so it is still extensively used in the fabrication of ships, bridges, pressure vessels, and structurals; however it is used in its manual mode only.
Submerged Arc Welding
Submerged arc welding (SAW) is a process in which continuous copper coated spooled wire is used in conjunction with loose granulated flux poured ahead of the arc so as to provide a protective media to ward off the atmospheric gases from reacting with the molten metal pool. The electrode wire diameter may range between 2 and 10 mm. Both ac and de power sources are used though de with electrode positive (dcep) is the preferred choice.
SAW is mainly used in the downhand welding position in both automatic and semi-automatic modes. The former is. a more popular mode and a set-up for the same is shown in Fig.
The weld joint produced by submerged arc welding is of very high quality and consequently this process finds extensive use in joining thick plates in long, linear seams as are encountered'in ships, pressure vessels, bridges, structural work, welded pipes, and nuclear reactors.
Fusarc Welding
This process employs flux coated electrode in which the core wire is helically wrapped with both left and right handed spirals of wire shown in Fig. 1.7; the coating fIlls the spaces between the spirals. Current to the core wire flows through the contact between the contact tube and the outer wire spiral which is partly bare. Welding current from 200 Ato 1000Acan be used depending upon the electrode diameter, however, the upper limit for the current is also set by the ability of the outer. spiral to carry it without
overheating and collapse. Long current slide is often used to overcome this difficulty. The set-up for Fusarc welding resembles the set-up used for automatic submerged arc welding excluding' the flux supply and recovery system. Fusarc welding usually employs an additional shield of CO2 to enhance the protection of weldpool and thereby greatly improves the weld quality. Fusarc welding is more tolerant of joint fit-up, surface and weather conditions then other open arc processes induding submerged arc welding. It, therefore, finds extensive use in shipbuilding, structural work or any long straight or circumferential seams. It also finds use for double-sided fillet welds and pressure vessel fabrication requiring sound welds and good penetration where visibility of the arc is imperative.
Gas 'I\mgsten Arc Welding
welding employs a non-consumable tungsten electrode with an envelope of inert shielding gas (Argon, helium, etc.) to protect both the electrode and the weid pool from the detrimental effects of surrounding atmospheric gases. Both ac and de power sources are used for GTAW.The tungsten electrode employed varies in diameter from 0.5 to 6.5 mm and. the current carrying capacity varies accordingly between 5A and 650A. The welding torch used for carrying current higher than 100A is normally water cooled. The process is used mainly in its manual mode. Fig. 1.8 shows a schematic representation of the basic elements of an ac GTAWunit.GTAWis an all-position welding process and gives the highest quality welds amongst the commonly employed arc welding processes and is, therefore, extensively used for welding most of the industrially useful metals and alloys usually in thin grades. Aircraft industry, rocket and missile fabricators, chemical and nuclear plant fabricators are the typical user industries of this proces
Plasma Arc Welding
Plasma is a flow of ionised gas that is obtained by passing a gas through a high temperature arc which results in splitting the gas molecules to atoms and then to ions and electrons. In plasma arc welding the arcis created between a tungsten electrode and the workpiece, as in gas tungsten arc welding. However, the plasma arc is constricted by an outer nozzle through which the shielding gas flows. Power source used for plasma arc welding is invariably of constant current dc type with an open circuit voltage of 70 to 80 volts and a duty cycle of 60%. There are two variants of the plasma arc welding process called non-transferred' type and transferred type. In the nontransferred type the tungsten. electrode is the "cathode and the torch tip the anode. Such a torch is very similar to oxy-acetylene torch as regards its manoeuvrability as workpiece is outside the electrical circuit. However, such a plasma arc is less intense compared with the transferred arc wherein the workpiece is the anode. The manoeuvrability of the transferred arc is, however, restricted. But such an arc is very intense and therefore the process results in higher thermal efficiency with consequential higher deposition rates as compared with GTAW,Fig. shows the set-ups for two modes of the plasma welding arc.
Any gas that does not attack the tungsten electrode or the copper nozzle tip can be used for plasma welding. However, argon, and argon-hydrogen mixture are more commonly employed. A major disadvantage of plasma arc welding process is the noise due to the operation of the plasma source. Because of this, hand-held plasma torches are used to a very limited extent. For most part, remotely operated plasma sources. are employed. Commercially the major users of plasma welding process are
the aeronautical industry and jet engine manufacturers. Typically the process is used for making piping and tubing made of stainless steels and titanium.
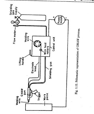
Gas Metal Arc Welding
In gas metal arc welding (GMAW)process a consumable wire, of 0.8 to 2.4 mm diameter and wound in spool form, is fed at a preset speed through a welding torch wherein it is provided the electrical connection and the shielding gas. The arc which is struck by direct contact between the wire electrode and the workpiece, is maintained at a constant length by the interaction of electrical parameters. The power source used is invariably of the rectified dc type. Both, constant voltage and constant current type power sources are in use.
Depending upon the work material, the shielding gas may be argon, helium, nitrogen, carbon dioxide, hydrogen, and their mixtures. When inert shielding gas is used the process is more popularly known as MI9 (metal inert gas) welding and when CO2 is used as the shielding gas it is referred to as CO2 welding or MAG (metal active gas) welding.
GMAW is an all-position semi-automatic welding process though its automatic versions are also available. A set-up for se:mi-automatic GMAWprocess is shown in Fig. 1.11. GMAWis a very versatile process and can be used for welding all metals for which compatible filler wires have been developed.
However, its typical applications include medium-gauge fabrication such as structurals, earth moving equipment, plate and box girders, and automobile bodies. This process has great potentials for use with robotic welding systems.
Plasma-MIG Welding
This process, as the name implies, has been developed by combining the features of plasma arc welding and MIG welding processes. It has two variants; one with separate non-consumable tungsten electrode and the other uses the torch nozzle as non-consumable electrode. The essential features of torches used for these two types are shown in Fig. 1.12. Essentially plasma-MIG welding process differs from the existing GMAWprocess in that the electrode wire is enveloped in a plasma sheath which controls heat and droplet transfer in such a way that much higher speeds and deposition rates are attained than possible with GMAWprocess, as is shown in Fig. 1.13. . This process can be used both for welding and surfacing. Most of the materials that can be welded by GMAWcan as well be welded by this process and at much faster rates.
Electrogas Welding
The equipment used for Electrogas Welding (EGW) is similar in appearance to the one used for electroslag welding. However,EGW is an arc welding process and gives welds with properties close to those obtained by submerged arc welding. Electrogas welding uses the vertical orientation of the weld
joint and employs copper 3hoes for retaining the molten metal in shape at the end of the plate width as in electroslag welding.
However, the wire used in EGW is of the flux-cored type which provides minimal covering to the weld pool. Additional protection is normally provided by the use of CO2 or argon-rich shielding gas. The rating of the equipment is similar to that of gas metal arc welding equipment. The duty cycle of the power source, however, needs to be 100% as it is a continuous operation. The essential features of a set-up for electrogas welding are shown in Fig. 1.14.
Electrogas welding process is mainly used forjoining metals with a thickness or 12to 75 mm; more on the lower range. Typically EGW is used in shipbuilding, and site fabrication of storage tanks.
Electron Beam Welding
In electron beam welding (EBW) a beam of electrons is used to melt the metal for welding. The electron beam; emitted from a heated filament, is focussed on to the desired spot on the workpiece surface with the help of a focussing coil. The workpiece which is placed in a vacuum chamber can be moved to create the necessary welding speed. The penetrating power of the electron beam depends upon the speed of the electrons which is controlled by the magnitude of accelerating voltage. Depending upon the accelerating voltage the EBW guns are rated as low voltage and high voltage· types with the range of voltages between 15-30 KV and 70-150 KV respectively. Fig. 1.16 shows a schematic representation of a triode type EBW unit. The EBW welds are very narrow and can be of the full penetration type with width to penetration ratio of 1 : 20 compared with 5 : 1 of shielded metal arc welding, and 2 : 1 of gas metal arc welding. The energy density of electron beam (EB) being nearly 5 x 108 W/mm2 it is, therefore, possible to melt and weld any known metal. Due to high energy density of the EB the HAZ is extremely narrow and high welding speedR can be reached.
Electron beam welding is widely used in the electronics, nuelear, missile, and aircraft industries. Typical applications of the process include cluster gears, intricate valve arrangements rnade of corrosion resistant alloys for automobile industry as well as pressure capsules, and missile hull frames. A portable EBW unit has also been developed for inflight repair welding of satellites.
Laser Beam Welding
In laser beam welding a monochromatic (of one wavelength) coherent light beam is used as a heat source. A coherent light is one in which the waves are identical and paralleI which can travel a long distance without loss in intensity or deviation. Laser light can be ea&ilyfocussed without any decrease in intensity or deveation.Laser light can be easily focussed without any decrease in intensity to a very
spot giving a very high energy density which may reach 10^9 w/mm^2. thus a laser beam like a electron beam can weld any known material. Due to very high energy density the HAZ is extremely narrow and high welding speeds can be attained.
There are three basic types oflasers viz., the solid-state lasers, semi-conductor lasers, and gas lasers. Although at present the solid-state Nd:YAG (Neodymium doped Yttrium aluminium garnet) lasers are the most used lasers in industry but their heat conversion efficiency is very low usually below 1%. Fig. 1.16 shows the essential features of one such laser unit. The CO2 lasers with their heat conversion efficiency of 15-25% are now being increasingly installed.
Laser beam welding is more versatile than EBW in that it can weld metals in air, in a gas shield, and in vacuum. It can also weld through transparent materials as laser beam can easily pass through such media. A laser must have a power rating of atleast about 2 KW to be used successfully for welding, however Nd:YAGlasers of 100 W to 1 KW power are Ilsed for welding in indtlBtry because they can
achieve pulses with peak power of the order of 10 KW. Although CO2 lasers of power rating up to 25 KW have reportedly been installed but presently such a unit is a rare piece of equipment and is extremely expensive.
commercially laser welding is finding use in radio engineering and electronics where fine wires are often to be connected to films on micro-circuit boards, solid-state circuits, and micromodules. It is also expected to be used in high quality precision work as in aerospace industry and high speed mass production applications as in automobile industry.
Oxy-Acetylene Welding
In this process acetylene gas is mixed with oxygen in the gas welding torch and is then burnt at tlle torch tip to give a flame with a temperature of about 3300°C which can melt most of the ferrous and non-ferrous metals in common use. Fig. 1.17 shows a standard set-up for oxy-acetylenewelding.
Three types of flames are used in oxy-acetylene welding. The nature of t.he flame depends upon the ratio of the two gases. The neutral flame is most often used for the welding of most of the materials like low carbon steels, cast steel, cast iron, etc. The oxidising flame has higher proportion of oxygen than acetylene and is used for welding of Mn-steel, brass,' and bronze whereas the carburising flame has higher proportion of acetylene in it and is used for welding aluminium, nickel, etc.
The heat transfer to the work in this process is very poor (about 30%) and may lead to a wide HAZ around the weld. The welding speed is also' accordingly low. Typical applications of oxy-acetylene welding include welding of root run in pipe and other multi-run welds, light fabrications like ventilation and air-conditioning ducts, and motor vehicle repairs. Alarge percent of general repair work is also done by this process.
Arc Spot Welding Processes
The processes in this class are used to join workpieces within a narrow zone of desired shape.
GTAW Arc Spot Welding
In this process the equipment used is basically the same as for conventional GTAWexcept that the control system includes timing device and the torch nozzle is modified to develop a spot weld at the intended place. GTAWarc spot welding may be done with ac or dcen (direct current with electrode negative). DCEN is used for all materials except aluminium for which ac with continuous superimposition of high frequency (HF) current is employed. The torch nozzle is made of copper or stainless steel and is often water-cooled as the arc is enclosed completely within the nozzle. The torch nozzle, usually about 12mm inside diameter, is provided with venting ports to affect gas flow and escape. rateTohfe2.s5hiteold4in.5gligt/ams inu.sed is either helium or argon with a flow To accomplish a spot weld, the arc is initiated by the HF discharge for which the outline circuitry is shown in Fig. 1.18. The arc continues for the preset time and the spot weld'is achieved.
Normally no filler metal is used but when required it is fed with the help of special wire feeder. Filler wire addition improves nugget configuration and helps in overcoming crater cracking. This process is mainly used in its semi-automatic mode but it can be mechanised and even controlled by numerically controlled (NC) system to achieve high rate of production. GTAWarc spot welding is widely used in the manufacture of automatic parts, precision metal parts and parts for electronic components and appliances. It is particularly useful for applications where access to a lap joint can be gained only from orie side.
GMAWArc Spot Welding
Normal GlVIAWequipment can be used for making spot welds between the lapped sheets by providing a special torch with a nozzle attached to it. Avented metal nozzle of a shape to suit the application is fitted to GMAWgun and is pressed against the workpiece at the desired spot. The operation is carried out for a period of 1 to 5 seconds and a slug is melted between the parts to be joined, as is shown in Fig. 1.19. Timing is usually controlled automatically with the help of a timer. Nojoint preparation is required except proper cleaning of the overlapped areas. Argon and CO2 are the shielding gases commonly used for GMAWarc spot welding.
GMAWarc spot welding process can be used most efficiently for downhand welding position. It can be successfully employed for horizontal position but fails for overhead welding position. This process does not require a hole to be made in either member, thus it differs from plug welding in that respect. As the upper member is required to be melted through and through its thickness is normally restricted to 3 mm. The thickness of the second member is not important; GMAWarc spot welding can be used successfully on aluminium, mild-, low alloy-, and stainless steels.
Stud Welding
This is a process of welding stud (a headless threaded bolt) or stud-like pieces (e.g. bolts, screws, rivets, rods, etc.) to flat pieces like plates. The main equipment for stud welding consists of a stud welding gun, a time control unit, a dc power s(\urce of 300-600 amperes capacity, studs and ceramic protective caps called ferrules.
For stud welding the stud is held in the welding gun and a ferrule is slipped on it. The stud is then made to touch the cleaned spot where it is to be welded and the switch, in the form of gun trigger, is pressed and the process is completed in a. couple of seconds. Fig. 1.20 shows the basic features of a stud welding unit. Typical applications of stud welding include steel decks of ships, for attaching brackets, hangers, cover plates, piping, etc. to metal workpieces. The process also finds wide use in automotive
rail road machinery manufacturing and construction industries.
Resistance Welding Processes
In all resistance welding processes the heat is generated at the interface of contacting workpieces due to the resistance offered to the flow of electric current and is expressed by Joule's Law,
The welds produced by resistance welding are normally without the addition of any filler material and are, therefore, sometimes referred to as autogenous welds. Resistance welding processes can be divided into three categories viz., spot, seam, and zonal type welds with some of them falling in more than one category. Brief description of industrially important processes, among them, follows.
Spot Welding Processes
In this class of processes the materials are joined at a spot the size of which depends upon the design specifications and is controlled by the electrode size and the magnitude of the welding current. Two main processes fall in this class viz., resistance spot welding and projection welding.
Resistance Spot Welding
In resistance spot welding process overlapping sheets are welded by the flow of current between two cylindrical electrodes. The main equipment for spot welding is the spot welding machine which consists of a step down transformer, a time control unit, and a pair of copper alloy electrodes. As voltage plays no direct role in resistance welding it is, therefore, kept low between 5 to 25 volts
but the current is usually heavy (100-50,000 A); however, it flows only for a short duration of time (0.06 to 3 seconds). Application of pressure to achieve forge between the two sheets is an essential
aspect of the process. Fig. 1.21 shows a general purpose spot welding machine. Spot welding is mainly used for lap welding of thin sheets particularly in the welding of automobile and refrigerator bodies,
and high quality work in aircraft engines.
Projection Welding
Projection welding is a process of joining two sheets or a sheet and a thick componept, or a small component like nut to a big body like automobile chasis, by making raised portions or projections on one of the components. The projections are made by embossing or intersection (e.g. cross of wires, etc.). There are several types of projections viz., round button or dome type, ring type, elongated projection, shoulder projection, and radius projection. The projections act to localise the heat of welding circuit, because when placed together the sheets touch only at the points of the projections. Projection collapses due to heat and pressure and a fused nugget is formed at the interface. Equipment used for projection welding is similar to that used for spot welding except that the rod electrodes are replaced by flat copper platens as shown in Fig. 1.22; which also shows the force and current cycles for the process. Typical applications of the process include projection welding of reinforcing rings around holes in sheet metal tanks, welding of threaded studs to backing bar or plate and cross-wire welding.
Cross-wire products include such items as refrigerator racks, grills of all kinds, lamp shade frames, wire baskets, fencing, gratings and concrete reinforcing mesh.
Seam Welding Processes
In these processes the weld is established along a seam so as to make a leakproof joint. The seam weld may be produced by making partially overlapping spot welds. Apart from projection welding the main processes in this class include resistance seam welding, electric resistance butt seam welding (ERW), high freque.ncy resistance welding (HFRW), and high frequency induction welding (HFIW).
Resistance Seam Welding
In resistance seam welding wheel electrodes are used to produce spot welds overlapping to the extent of 25 to 50%. Due to shunting of current through the already made weld, the ,current required is higher than in normal spot welding. Pressure is applied to fuse the metal properly into a nugget as in sp<,>t welding. Fig. 1.23 shows the principle of resistance seam welding alongwith force and current cycles employed in the process. Seam welding is used for producing leak-proof joints in tanks and boxes generally required for the automobile industry. This process is, however, restricted to welding thin materials ranging between 2.5 and 5.0 mm. Also, it is used mainly for welding materials with low hardenability rating, for example, hot-rolled grades of low alloy steels. This process is commonly used for making flange welds for use in water-tight tanks.
Electric Resistance Butt Seam Welding (ERW Process)
Large quantities of steel tube and pipe are manufactured by resistance butt seam welding from strip which is continuously edge sheared and rolled into tube of desired diameter before welding. Alternating current of up to 4000 A at about 5 volt is introduced across the joint by pressure rolls as shown in Fig. 1.24. For introducing heavy current directly to the moving electrodes a rotating transformer with slip rings on the primary side is employed. Unlike the normal resistance seam welding, current and work motion are continuous in this process. The maximum rate of production is limited by the welding current frequency because as the welding speed is increased individual current half-cycles eventually lead to spot welding instead of seam welding. To overcome this difficulty current frequency is usually increased to 350 Hz to achieve welding speed of up to 36 m/min. The tube produced by this process has a fin of upset metal along the weld joint both inside and outside which is
usually removed by installing appropriate cutters on the production line. The tube is cut to the desired lengths by employing a cutter which moves along the tube and is synchronised to cut the desired length in the available run in a given cycle.
High Frequency Resistance Welding (HFRW Process)
In this process the tube is formed by rollers in the same way as in ERW process but the current in the range of 50u to 5000 A at a frequency (f) of up to 500 KHz and a voltage of about 100 volts is introduced through pr0bes made of copper alloys and silver brazed to heavy water-cooled copper mounts. Contact tip sizes range between 15 and 650 mm 2 depending upon the amperage to be carried. Whereas in ERW process the heat is generated mainly by the interfacial contact resistance in HFRW process it is produced by the skin effect due to which the current flows in a shallow depth of the conductor and is proportional to
.
Pressure rollers, to provide the forging pressure are installed a short distance down the line from the current probes as shown in Fig. 1.25. Due to the skin effect the current flow path lies along the strip through the apex. of vee formed by the faying surfaces menting at an angle of 4° - 7° as they close to form the tube. The depth of the heated region is generally less than 0.8 mm and thus affords the optimal condition for weld joint. HFR\V process is used to produce pipe and tubing of diameters ranging between 12 and 1270 mm, and with a wall thickness of 0.25 to 25 mm. Any metal can be welded by this process with a speed range of 5 to 300 m/min depending upon the wall thickness. This process can also be used to manufacture spiral and finned tubes and pipes. Various types of serrated or folded fins can also be welded to tubes.
High Frequency Induction Welding (HFIW Process)
High frequency induction welding of tubes is similar to high frequency resistance welding except that the heat generated in the work material is by the current induced into it. Because there is no electrical contact with the work this process can be used only where there is a complete current path or closed loop wholly within the work. The induced current flows not only through the weld area but also through other portions! of the work.
Tube edges are brought together in the same manner as in ERW and HFRW processes. A water-cooled induction coil or inductor made of copper encircles the tube at the open end of the vee as shown in Fig. 1.26. High frequency current flown through the coil induces a circulating current around the outside surface of the tube and along the edges of the vee, heating them to welding temperature. Pressure is applied to accomplish the weld as in HFRW process.
HFIW process is suitable for tubing made of any metal within a diameter range of 12 to 150 mm with a wall thickness of 0.15 to 10 mm at a welding speed ranging between 5 and 300 m1min. HFIW process is not limited to tube manufacture but can also be employed to make circumferential welds for welding cap to tube. The process can as well be advantageously used for manufacturing tubing from coated material, small or thin-walled tubing; and it eliminates surface marking by electrical contacts. This process is, however, not suitable for welding high conductivity metals or those which form refractory oxides as there is no effective mechanism for oxide disposal.
Zonal Welding Processes
In these resistance welding processes heat is generated simultaneously over the entire zone which is requi,red to be welded. The processes included in this class are Resistance Butt Welding, Flash Butt Welding, and Percussion Welding.
Resistance Butt Welding
In Resistance Butt Welding or Upset Welding the pieces to be welded are held in clamps supported on two platens, one of which is fixed and the other moveable; and form part. of the single-turn secondary loop of a heavy duty transformer, as shown in Fig. 1.27. The ends to be welded touch each other before the current is switched on. A heavy current is then pa~sed from one workpiece to another and the contacting faces are heated up due to the contact resistance. The two pieces are pressed together firmly
after the desired welding temperature of 870 to 925°C, for steels, is reached. The pressing action which results in the increase in lateral dimension of the workpieces is called upsetting. Upsetting takes place both during and after the current flow. The upsetting action results in welding of end faces with squeezing of a part of the softened metal to form·a fin, which can bo removed later, if required, by machining. Resistance butt welding is used for end joir,ing of rods, tubes, bars, and similar other sections for welding a cross-sectional area of up to 150 mm^2. Wire and rod from 1.25mm to 30 mm diameters can be upset weided. Typical application of resistance butt welding is in wire mills for joining wire coils to each other to facilitate continuous procesging.
Flash Butt Welding
Flash welding is similar to resistance butt welding except that it is accompanied by arcing and flashing. Flash welding consists of one fixed and one moveable clamp to hold and clamp the workpieces firmly as well as to force them together, a heavy duty sjngle phase transformer with a single turn secondary, alongwith equipment to control welding current, movement of the clamp, force, and time. With a voltage of about 10 volts across the clamps, heavy current flows along the asperities across the contacting faces of workpieces. As the points of contact are melted and the metal is squeezed out in a shower of fine molten droplets, the contact is broken and arcing takes place across the gap. With further movement of the clamp, the process of melting, flashing and arcing repeats itself. Due to flashing contaminants from the contacting faces are removed and the surfaces are heated to a uniform temperature. Finally the movement of the platen (or moveable clamp) is rapidly increased and a high force is applied to achieve a weld with the expelled metal forming a rough fin or flash around the joint. The flash can be removed by subsequent machining. Basic arrangement for flash butt welding process is shown in Fig. 1.28.
Flash Butt Welding requires a heavy power supply, for example, currents in excess of 100,000 A can flow across the interface with a power input. up to 200 KVA.Transformer used for flash butt welding are single phase which can, thus, place an unbalancing load on normal 3-phase supply from the mains. This necessitates the use of special transformer which can distribute the load uniformly.
In flash butt welding the pieces to be welded must be held with enough force to avoid slipping and that requires a clamping force of up to twice that of the upsetting force. The upset force is around 70 MPa· for mild steel and nearly four times that for high strength materials. Flash butt welding is extensively used for welding mild steels, medium carbon steels, and alloy steels as well as non-ferrous metals like aluminium alloys, nimonic alloys (80% Ni + 20% er) and titanium. Dissimilar metals may be flash welded if their flashing and upsetting characteristics are similar, for example aluminium can be flash butt welded to copper or nickel alloy to steel.
Typical uses of flash butt welding include welding of wheel rims, cylindrical transformer cases, circular flanges, and seals for power transformer cases. The aircraft industry utilises flash butt welding to manufacture landing gears, control assemblies, and hollow propeller blades while the petroleum industry uses oil drilling with fittings attached by flash welding. Other uses of the process include welding of rails, steel strips, window frames, and heavy duty chain links e.g., anchor chains for ships. To avoid shunting of current the ring-type workpieces are made by welding two halves of each link simultaneously.
Percussion Welding
Percussion welding is an arc welding process of joining, end-to-end, two parts of equal cross-section. The arc is produced by a short ,.pulse of electrical energy and pressure is applied in a percussive manner to produce coalescence simultaneously over the entire abutting surface. In general percussion welding is the term used in the electronics industry for joining wires, contacts, loads. and similar items to a flat surface. There are two variants of tltis process viz., magnetic force percussion welding and capacitor discharge percussion welding. Essential steps involved in the process involves,
(i) establishing an arc between the surfaces, to be joiried, with high voltage to ionize the gas between the parts or with high current to melt and vaporise a projection on the part, and
(ii) move the_part~ together pe rcussively with an applied force to extinguish the arc' to accomplish a weld.
Welding heat is gener~ted by a .high current arc between the two parts to be joined. The extremely short duration arc limits mel ting to a very thin layer 011 the two surfaces being welded. Consequently, there is very little upset or flash on the periphery of the welded joint. Filler metal is not used nor flux or special atmosphere required.
Percusion welding is usually employed for welding dissimillar metals difficult to weld by other proceses and where the avoidance of upset at the joint is impresive.
Percusion welding is particullarly good for joinng small diameter (0.05 to 0.400mm) wires even with widely different properties in electronic industry. Large contact assemblies for relays and contactors are often produced by percussion welding. This process is also used to weld electronic components to terminals as shown in Fig. 1.29.
Solid-State Welding Processes
In solid-state welding processes the material to bl: welded is heated to a temperature below or just up to the solidus. The coalescence between the parts is achieved under pressure and thus forging or impact action plays an important role in all these processes.
Solid-state welding processes may be divided into two groups viz., high heat input processes and low heat input processes.
High Heat Input Processes
High heat input solid-state welding processes include Forge Welding, Friction Welding and Diffusion Bonding.
Forge Welding
Forge welding or smith welding is the oldest known welding process and its use has been reported from about 1400 B.C. By this process the pieces to be welded are heated to above 1000°C and then placed together and given impact blows by hammering. In the more recent form of welding of large components the pressure is applied by rolling, drawing and squeezing to achieve the forging action. The oxides are excluded by virtue of design of the workpieces and or by the use of appropriate temperature as well as fluxes. Fluxes commonly used for forge welding low carbon steels are sand, fluorspar, and borax. They help in melting the oxides, if formed. Proper heating of the workpieces is the major welding variable that controls the joint quality. Insufficient heating may not affect a joint while overheating results in a brittle joint of low strength. Also, the overheated pieces tend to be oxidised which shows itself by spongy appearanee. The joints most commonly employed are scarf, cleft and lap types, as shown in Fig. 1.30.
Forge welding is now mainly used in under-developed countries for welding small agriculture implements and chains, etc.
Friction Welding
In friction welding one piece is held stationary and the other is rotated in the chuck of a friction welding machine. As they are brought to rub against each other under pressure, they get heated due to friction. When the desired forging temperature is reached throughout the rubbing cross-seCtion of the workpieces, the rotation is stopped suddenly and the axial pressure is increased to cause a forging action and henceWeldmg.
The machine used for friction welding resembles a lathe, as shown in Fig. 1.31, but is strudier than that. The essential features of the machine are that it should be able to withstand high axial pressure of the order of up to 500 N/mm2 and be able to provide a high spindle speed of up to 12,000 rpm though the usual working range may rarely exceed 5000 rpm. Friction welding is a high speed process suited to production welding. However, initial trials are required to standardise the process parameters for a given job. Friction welding of two pieces rarely takes more than 100 seconds though it may be just about 20 seconds for small components.
Friction welding can be employed to weld most of the metals and their dissimilar combinations such as copper and steel, aluminium and steel, aluminium and titanium, etc. Typical applications of the process include welding of drill bits to shanks, i.c. engine valve heads to sterns, automobile rear-axle hub-end toaxle casing.
Diffusion Bonding
In diffusion bonding or diffusion welding a weld is achieved by the application of pressure, of the order of 5 to 75 N/mm2, while the pieces are held at a high temperature, normally about 70% of the melting point in degrees absolute i.e. about 1000°C for steel. The process is based on solid-phase diffusion which, obviously, is accelerated with rise in temperature. Depending upon the extent of diffusion required the process may be completed in 2 to 3 minutes or may take many minutes or even hours. The quality of the surfaces to be welded plays an important role; surfaces machined to a standard of 0.4 to 0.2 !-lm CLA (centreline average) is usually adequate. The surfa.ces must be degreased before welding by using acetone or petroleum ether swab.
Diffusion bonding can be achieved by three methods viz.,
(ii) vacuum fusion bonding,
(iii) eutectic fusion bonding.
In Gas Pressure Bonding, the parts are held together in an inert atmosphere and heated to a temperature of 800°C by a system resembling an autoclave". During heating the high pressure provides uniform pressure over all the surfaces. This method is used for bonding non-ferrous metals only because it
necessitates high temperatures for steels.
'In Vacuum Fusion Bonding the parts are held in an intimate contact in a vacuum chamber. The pressure on the parts is applied by mechanical means or a hydraulic pump, and heating is done in the same way as in gas pressure welding. Fig. 1.32 shows the essential features ofa set-up for vacuum fusion bonding. Avacuum pumping system which can quickly reduce pressure to about 10^-3 torr (mm of mercury) needs to be used. High pressure created by the use of mechanical or hydraulic means makes it possible to diffusion bond steels by this method. Successful joining of steel can achieved at a temperature of about 1150°C unde an applied pressure of nearly 70N/mm^2.
In Eutectic Fusion Bonding a thin piece of a particular material is placed between the surfaces to be welded. This results in the formation of a eutectic compound by diffusion at an elevated temperature and the piece may completely disappear and form eutectic alloy at the interface. The material used for being placed in-between the two parts is usually in a dissimilar metal foil form with a thickness of 0.005 mm to 0.025 mm.
Diffusion bonding finds use in radio engineering, electronics, instrument making, missile, aircraft, nuclear, and aerospace industries, Typical applications of this process include tipping of heavy cutting tools with carbide tips or hard alloys, joining of vacuum tube components, fabrication of high temperat.ure heaters from molybdenum disilicide for resistor furnace that can operate in an oxidising atmosphere up to 1650°C. In aerospace industry it is used for fabricating complex shaped components of titanium from simple structural shape. It is also used for surfacing components to resit wear, heat corrosion.
Low Heat Input Processes
Low heat input solid-state welding processes include Ultrasonic welding,Explosion welding, Cold pressure welding and Thermocompression bonding.
Ultrasonic Welding
In ultrasonic welding a metallic tip vibrating at ultrasonic frequency (i.e. the vibrations which produce sound beyond the range of human hearing) is made to join a thin piece to a thicker piece supported on an anvil. The frequency used is mainly around 20 KHz though higher frequencies up to 60 KHz have reportedly ben used. Higher the frequency of vibration higher is the rate at which energy is transmitted.
Ultrasonic welding equipment consists of two main parts viz., a power source, and a transducer. The power source converts the 50 Hz mains supply to a high frequency electric power and that is converted by the transducer to magnetic flux and then the kinetic motion which is amplified through a velocity transformer. The schematic illustration of the set-up is shown in Fig. 1.33.
The transducer and the horn-shaped velocity transformer form a unit called sonotrode. The tip of the velocity transformer which is used for welding is made of high speed steel (i.e. steel containing 14 to 20% tungsten and 4% chromium) or Nimonic alloy (80/20 Ni/Cr) and is shaped to a spherical contour of about 75 mm radius. These tips are brazed or welded to the horn. Avelocity transformer' is made flow-loss, high strength metal like titanium and is shaped to achieve the desired frequency based
on the relationship,
Since the welding tip has to be an anti-node thus the length of the horn has to be a multiple of ').j2 and any support must be at nodal points at
A vibrator, thus, can operate at one definite frequency only. The work to be welded is placed under the sonotrode tip in lap joint formation and is supported on an anvil. Force is applied on the sonotrode tip with the help of pneumatic, hydraulic or ,a spring-actuated device. This set-up can be used for spot and seam welds. To make an annular or ring type ultrasonic weld, the force is applied tangentially on a cylindrical tip to give torsional' vibration to the welding tip. Due to the ultrasonic vibrations the oxide layer over the metal is broken and a clean metal to metal contact is achieved. The temperature at the interface rises to between 35 to 50% of the absolute melting point temperature of the metal and, thus, a
solid-state weld is achieved. The strength of the weld is 65 to 100% of the base metal strength. The process is fast and seam welding with a speed of up to 10 m/min. have been reported. Energy required (E) for ultrasonic welding unit depends upon the thickness (t) and hardness (h) of the material to be welded-and may be calculated from the following relationship,
With adequate power a spot weld can be made in less than a second but the maximum thickness of the thinner piece should not exceed 3 mm. Ultrasonic welding can be used for welding thin to thick parts
as well as for welding dissimilar metal combinations like aluminium to steel, aluminium to tungsten; aluminium to molybdenum, nickel to brass, etc. The major users of the process are semiconductor, micro-circuit, and electrical contact industries. It is also used by automotive and aerospace industries.
TYpical applications of the process include fabrication of small motor armatures, aluminium and gold lead wire connections totransistors and diodes, helicopter access doors, dissimilar metal joints in solar collectors. The unique applications of ultrasonic welding, however, is welding of containers of explosives like nitroglycerine, pyrotechnic (fire works), and reactive chemicals.
Explosion Welding
In explosive or explosion welding process the weld is achieved by making one part strike against the other at a very high but subsonic velocity. This is achieved by the use of explosives usually of the ammonium nitrate base. The process is completed in micro-seconds.
The set-up, in principle, used for explosion welding is shown in Fig. 1.34. It shows the two plates to be welded placed at an inclination to each other. The included angle varies between 10 and 100• The thicker plate called the target plate is placed on an anvil and the thinner plate called the flyer plate has a buffer plate of PVC or rubber, between it and the explosive charge, for protection against surface damage. The charge is exploded by a detonator placed at one end of the flyer plate. When the charge explodes, the flyer plate moves towards the target plate at a velocity of 150 to 550 m/sec and the pressure produced at the interface of the impacting plates by such a high velocity is of the order of 700 to 7,000 N/mm2• Under such a high velocity and pressure the metal flows ahead of the joining front acting like a fluid jet resulting in a bond of the interlocking type as shown in Fig. 1.35. The interlocking is an essential aspect of an explosion weld and is the cause of its strength. The weld strength equal to the strength of the weaker of the two components (metals) can be achieved.
Explosion welding is normally an outdoor activity and needs a large area to ward off the persons coming close to the explosion site particularly when an explosive charge of high strength may have to be exploded. Explosion welding can be used for joining dissimilar metal combinations like copper and steel, aluminium and mild steel, aluminium and inconel (76% Ni + 15% Cr + 9% Fe), aluminium
and stainless, etc. Typical applications of explosion welding include cladding of thick plates by thin sheets, even foils. Tube to tube-plate joints in boilers and heat exchangers, valve to pipe joint, as well as blocking of leaking tubes in boilers can be successfully achieved by this process.
Cold Pressure Welding
Cold pressure welding or cold welding is a solid-state welding process in which a weld joint is produced solely by the application of pressure at room temperature. No heat is involved in this process. The main requirement of the process is that atleast one of the components being welded should be of ductile metal without much tendency for workhardening. Thus metals with FCC (face centred cubic) lattice structure. are best suited for this purpose. Aluminium and copper are the major metals joined by this process.
The amount of deformation is a major factor in cold pressure welding and it depends upon the properties and thickness of the metal as well as the type of joint and surface preparation. The parts to be joined by cold welding are cleaned thoroughly degreasing,wire brushing and scraping to remove any contaminents on the surface.
Cold pressure welding is used to make usually lap and butt types of joints. In lap welding the sheet thickness may vary between 0.2 and 15 mm and the joint is affected with the help of a single or a double die and the joint shape varies accordingly. The die radius varies with the workpiece thickness and the rough rule is r = (1 - 3) t, where t is the sheet thickness.
Butt joints by cold welding are made by clamping the two parts to be welded in a split die. Before clamping, however, a short section is usually sheared from the ends of the parts to expose fresh, clean surfaces with square ends. Butt welds usually have higher strength. than the parent metal because the joint is workhardened/
Pressure for cold welding may be applied, to the properly aligned components, with hydraulic or mechanical presses, rollers, or specially designed manual or pneumatically operated tools. The rate at which the pressure is applied has no effect on weld joint properties hence welding can be done at high speed.
Commercial applications of cold welding include can joints (Fig. 1.36) for packaging food, closing of aluminium cable sheaths, and cases of semi-conductor devices, lap and butt joints of wires and busbars for electroiysis cells, communication lines and trolley wires.
Thermo-Compression Bonding
It is a pressure welding process which is employed at temperatures above 200°C. The process deals with mainly small components in the electrica1 and electronic industries for welding fine wires of about 0.025 mm diameter to metal films on glass or ceramic.
Ther,e are many versions of the process, three out of which are shown in Fig. 1.37 and are referred to as chisel or wedge bond, ball bon,d, and parallel gap bond. In the chisel or wedge bond a wire is deformed under pressure and welded to the film with the help of wedge shaped indentor.
In the ball bond a wire is heated by a micro-hydrogen flame to form a ball at the wire tip as shown in Fig. 1.37(b), which is subsequently welded to the heated film on substrate by the pressure exerted through the pierced indentor. In the parallel gap bond the wire or strip is pressed to the film with the help of twin electrode made of high resistance material like tungsten. The flow of current through the wire or strip heats it up locally thus keeping the heat confined to small zone around it.
For all these variants of the process local inert atmosphere is created around the joint being bonded. Ultrasonic variations replace heating in some of the applications of all these modes of the process.
Commercial applications of the process include welding of noble metals, aluminium, and copper to substrates of glass or ceramics.
Allied Processes
The processes allied to welding are of three types viz., (i) joining processes involving no melting of the parent metal with consequential lower joint strength; (ii) metal depositing processes which often employ the welding process and or equipment to lay or spray material on to a substrate for repair to accomplish certain desired properties in the base material; and (iti) thermal cutting processes which help in cutting the material to the desired size for -welding; alternatively the process may be employed for edge preparation by gouging. Brief descriptions and typical applications of the industrially important allied processes are given in the following sections.
Material Joining Processes
The processes allied to welding used for joining of materials include Soldering, Brazing, and Adhesive Bonding.
Soldering
Soldering is a process of joining metal pieces usually in the form of overlapped joints by making a filler metal flow into the gap between them by capillary action. The filler used is called a solder and has a melting point lower than 450°C. The solder most commonly used is a compound of tin and lead
in the ratio of 40/60, 50/50 or 60/40 having a melting point between 185 and 275°C, depending upon composition. Soldering is done by thoroughly cleaning the pieces with the help of wire brush, emery cloth, file or even steel wool. The pieces are then fitted closely with a gap of about 0.08 mm between the mating surfaces. A flux is applied. to the surfaces to be joined so as to avoid the formation of oxide due to subsequent heating as also to dissolve any flux still present on t.hem. A commonly employed general purpose flux is zinc chloride while for soldering electrical connections resin, being non-corrosive, is best suited.
After the application of flux, the pieces are heated by any of the available methods viz., oxy-acetylene torch, soldering iron, hot plate, electrical resistance, induction heating, oven heating, or dip heating; Fig. 1.38 shows a general purpose elec~rical soldering iron in common use. The solder is then applied to the gap. It melts and flows into the interface of the mating surfaces by capillary action. On cooling it solidifies and provides a joint of adequate strength. If the gap between the surfaces is small as mentioned above, then the strength of the joint is more than that of the strength of solder. However, if a thick layer of solder is deposited then the maximum strength attained by the joint equals that of the solder. On cooling the joint is cleaned by hot water to avoid corrosive action of the flux residue.
Commercially, soldering is used extensively for joining thin sheets of ferrous and non-ferrous metals where the joint is not stressed in tension. It is also widely used in the electrical and electronics industries. Typical uses of soldering include joining of electrical conductors, and plumbing of copper tubing to copper fittings.
Brazing
Brazing is a process of joining metals by using a non-ferrous filler metal having a melting point above 450°C but below the solidus of the base metal. No melting of the base metal is involved and the filler spreads by capillary action between the pieces being joined.
The workpieces to De brazed are usually' prepared for lap or butt joints. Both square butt and scarfed butt are used. The cleaning of the pieces is done by mechanical methods like filing, grinding, etc. or by the use of chemicals like carbon tetrachloride (CCI4)·
.Joints to be brazed are made with small clearances of 0.025 mnl to 0.25 mm. Brazing flux is then applied to dissolve solid metal oxide still present and to prevent further oxidation. Brazing fluxes usually contain chlorides, fluorides, and borates of alkali metals. Borax, however, is one of the most popular brazing fluxes.
Heating of workpieces is achieved by oxy-acetylene flame, induction heating or furnace heating. Fig. 1.:39 shows the induction heating system employed for brazing. The brazing filler material, if not already placed in position over the joint, can be 'applied in the form of a rod or a wire and melted to make it flow into the joint by capillary action. The fillers most commonly used are brass (60/40 Cu-Zn) and silver-copper-zinc- cadmium alloy like 35 Ag, 26 Cu, 21 Zn, 18 Cd.
Residual flux left on the brazed .joint can be removed by washing with hot water followed by air drying. Commercially brazing is used widely throughout the industry. The major industries using brazing, however, are electrical, electronics, and maintenance industries. Typically brazing is used
for joining carbide tips to the steel shanks for cutting tools. A variant of Brazing is called Braze Welding or Bronze Welding.
Braze Welding is a process in which the metal pieces are joined in the same wayas in brazing but the filler material is made to flow into the joint gap without the use of capillary action. Base metal is melted, if at all, to a limited extent. All joints used for oxy-acetylene welding can be braze welded. Heat is also applied usually with the help of oxy-acetylene torch.
However, carbon are, gas tungsten are, and plasma arc can be utilised equally effectively and without the use of flux. The filler is dipped in the flux and is melted with the help of flame or arc to make it flow into the joint gap. The force of the flame can be used to make the molten filler flow into the desired position. The fluxes used for bronze welding are propriety type and the filler is often a copper alloy brazing rod of 60/40 copper-zinc composition.
Joints for braze welding are of the square butt type for sheet thickness up to 2 mm but need single or double vee preparation above that thickness. However, efforts are made to eliminate sharp corners in edge preparation to avoid overheating.
Braze welding was initially developed for repair welding of cracked or broken cast iron parts, but is now-a-days used conveniently for joining dissimilar metals like copper to steel, copper to cast iron, nickel and copper alloys to cast iron and steel.
Typical applications of braze welding include rapid joining of thin gauge mild steel, welding of galvanised steel ducts using carbon are, thin sheets to thick parts of cast iron and for joining telescoping pipes.
Adhesive Bonding
In adhesive bonding a metal is joined to another metal or a non-metal by the use of an adhesive which usually consists of synthetic organic polymers of the thermosetting type, for example epoxy, and phenol formaldehyde .
The pieces to be joined are thoroughly cleaned by chemical or mechanical means. Whereas chemical cleaning may involve degreasing in a vapour bath followed by dipping in suitable acids, mechanical cleaning may include shot blasting, grinding, filing, wire brushing or sanding.
Adhesives ::re applied to the cleaned surfaces by brushing, spraying, roller coating or dipping. The thickness of the layer of adhesive, applied depends upon the metal being bonded, type of adhesIve, solvent used and the strength aimed at, e.g., to achieve an ultimate glue thickness of 0.025mm to 0.75 mm anywhere from 0.125 mm to 0.375 mm of20% solid wet adhesive must be applied. Typical joints used for adhesive bonding include lap, inset, butt-strap, and tee type, as shown in Fig. 1.40.

The adherends (workpieces) after being joined in the desired joint configuration are placed under a pressure of 10 to 100 N/cm2 and are cured usually at a temperature of about 150°C for about, SO minutes. Adhesion is generally due to molecular attraction between the adhesive and the adherend. Fig. 1.41 shows the joint mechanism of an adhesive bond.
Commercial uses of adhesive bonding include a large number of applications in manufacture of railway cars, microwave reflectors, refrigerators, storage tanks, etc. But, by far the major users of this method are the aircraft and automobile industries.
Typical applications of the process include fastening of stiffners to aircraft skin, attaching of brake bnings to brake shoes, and joints in the aircraft wing and tail assemblies.
Surfacing
Surfacing or overlaying is the process of depositing filler metal over the surface of a base metal with a view tu achieving desired properties which include corrosion resistance, wear resistance, dimension control and metallurgical needs. Usually four variants of the process are recognised viz. cladding, hardfacing, build-up, .and buttering, the aims of which are respectively to provide increased corrosion resistance, increased wear resistance, dimensional requirement, and to achieve metallurgical compatibility.
Surfacing can be done by a number of welding processes like shielded metal arc welding, submerged arc welding, electroslag welding, plasma welding, explosion welding, and even oxyacetylene welding. Fig. 1.42 shows a set-up for plasma arc surfacing process. Cladding can be done even by mechanical
rolling operation.
Surfacing by welding is carried out by the usual welding techniques but quite often the beads are laid overlapping to the extent of SO to 50% to achieve complete union between them. Shallow penetration with low dilution but adequate joint strength are the desired aims of the process. This may necessitate proper cleaning of the surface before surfacing. Cleaning method employed will depend upon the material and the surface integrity of the base metal. Grinding, shot blasting, and chemical cleaning
may be employed to achieve the desired quality of the surface. The thickness of the material laid usually varies between S'and 5 mm.
Commercially, submerged arc and plasma arc are the most often used for surfacing. The industries using surfacing are many including pressure vessel industry, railways, automobile industry, and the earth moving machinery industry. Apart from overlaying the inside of the newly made pressure vessels and boilers, the process is used mainly for reclamation of equipment such as coal and cement crushing equipment, drill rigs, coal cutters, forges and press components like dies and punches.Typical applications of the process include surfacing of engine valve facings and seats of internal combustion engines, buildingup broken or wornout gear and sprocket teeth, repairing of digesters used in pulp and paper mills, rock crusher cones and bulldozer tips.
Therttlal Spraying
Thermal spraying is the process of depositing a metallic or a non-metallic material over a base material to protect it from corrosion, or to reduce abrasion, erosion, cavitation, or wear. It is also used to restore the defective or worn surfaces to their original shape and dimensions. Thermal spraying process has three main variants viz., electric arc spraying, flame spraying, and plasma spraying. Whereas the electric arc spraying uses material in wire form, plasma arc spraying uses it in powder form while flame spraying can use material both in wire and powder forms. Fig. 1.43 shows the schematic of flame spraying set-up using material in wire form.
The principle of operation in all three methods of spraying is that the material to be sprayed is melted by electric arc or plasma are, or gas flame and is atomised with the help of high pressure air or inert gas and is projected on to the base material. The sprayed material sticks to the base material due to its fluid state and high impact. Depending upon the temperature and pressure the bond between the coating and the base material is of mechanical nature or a complete coalescence.
For achieving a good bond between the coating and the base material it is very important to prepare the workpiece properly. Depending upon the nature of base material it may be machined, shot blasted, chemically cleaned, or even bond coated. Overall a clean but rough surface gives the best result if it is sprayed immediately after preparation. Apart from metals, the base material can be cloth, leather, wood, concrete, or anyother porous surface.
Commercially, the process of thermal spraying is used in machinery repairs and maintenance, and for providing protective coatings. Material deposited by spraying is usually of much less thickness than that deposited by surfacing. The bond in spraying is also normally of the mechanical nature whereas in surfacing it . is of the coalscence type.
Typical applications of the process include zinc coating on turbine blades, armature shafts and cam shafts. Decorative work by spraying includes spraying of furniture, toys and sign boards.
Thermal Cutting Processes .
Thermal cutting processes is a family of processes in which heat of an electric are, radiation energy, or an exothermic reaction is utilised to melt or oxidise a metal at an accelerated rate to achieve a cut. There are a number of processes which utllise the heat of the arc to cut metals and they include shielded metal are, air carbon arc, plasma arc, gas tungsten are, and gas metal arc.
Electron beam and laser beam use high density radiation energy to achieve cutting of metals. Oxy-fuel flame inconjunction with oxygen jet is utilised to initiate and sustain an exothermic oxidising reaction which generates enough heat and affects parting of metals particularly low carbon ferrous alloys.
Out of these processes oxy-acetylene flame cutting and plasma arc cutting are the two major thermal cutting processes, while air carbon arc process is used both for cutting and gouging in the industry.
Oxy-Acetylene Flame Cutting Process is the most used process for economic and high speed cutting of low carbon steels. In this process a gas cutting torch, shown in Fig. 1.44, having some resemblance to gas welding torch is employed. The gas cutting torch not only provides a means to obtain an oxy-acetylene flame but also has a separate lever controlled paSij,ageto provide a high pressure pure oxygen gas jet which impinges upon the heated metal to cause oxidation and generation of heat by the following reaction .
3Fe + 202 ----+ Fea04 + heat (1120 kJ/mol) ...(1.4)
However, the initiation of this reaction is possible only if the metal to be cut has achieved the ignition temperature of 870°C or above for steel. Once the reaction is initiated the flame is required only to sustain it so a neutral flame of low energy is used. The metal which is oxidised (Fea04) has a lower melting point than the melting point of steel, thus the cut is achieved faster than that by melting of steel.
The oxygen jet also helps in blowing the oxidised metal or slag out of the cut or kerf.Cammercially, axy-acetylene cutting pracess is extensively used far cutting mild and law allay steels far straight ar cantaured cuts as well as far jaint edge preparatian far welding. It also.finds though a limited use in cutting cast iran and stainless steels e.g. in faundries to.remave gates and risers, etc, fram the castings.
In Plasma Are Cutting a metal is parted by melting using a high velocity jet af ionised hat gas. The equipment employed is similar to. that used far plasma arc welding, hawever, the gas pressure used is higher than that emplayed for welding. The plasma arc cutting tarch is af the transferred plasma arc type with the warkpiece connected to. the anade of the de pawer source, as shown in Fig. 1.45. The pawer source used is af the draaping valt-ampere characteristic type with an apen circuit valtage (OCV) range af 120 to. 400 valts. Higher OCVis used far cutting thicker sections. The autput current range required is usually 70 to. 1000 amperes.
The gas used far praducing plasma jet depends upon the metal to. be cut, for example, carban steel can be cut by campressed air while mast nan-ferrous metals can be cut by using nitragen, hydragen, argan and their mixtures. Almast all metals can be cut by plasma arc cutting but it is particularly suited to. cutting aluminium and stainless steels. It can also. be used far stack cutting, shape cutting, and plate
bevelling.
Air Carbon Arc Gouging and Cutting is a pracess af remaving unwanted metal to.praduce graaves in plates and to.bevel edges in preparatian far welding. In this pracess heat is praduced by an electric arc between a graphiterod and the workpieceto melt abd blowit outby compressed air which may also partially axidise the material and hence help in lawering its melting paint.
The campressed jet usually follows the arc far blawing aut the malten metal as shown in Fig. 1.46. Apart fram gauging the process can also.be used for cutting the metals.
As axidation af metal is nat an essential requirement af the pracess therefare all metals can be gauged ar cut regardless afhaw rapidly they axidise. Material can be remaved appraximately five times faster by arc gauging than by chipping. A 10 mm graave, far example, can be gauged at a speed af 60 cm/min. Depth af cut can be cantralled clasely, and welding slag daes nat deflect ar hinder the cutting actian as it wauld with cutting taals. The cast af aperating gauging equipment is generally less than far chipping
hammers ar gas-cutting tarches, and the arc-gauging equipment also.requires less space. An arc-gauged surface is clean and smaath and can usually be welded withaut further preparatian.
Mast of the standard arc welding pawer saurces, both ae and dc, with an apen circuit valtage af 60 volts can be used far air carban arc gauging and cutting. The 150 to.300.mm lang electrades used vary fram 4 mm to.25 mm in diameter. Bath bare and capper caated electrades are used, hawever the latter type finds mare extensive use because they erade far less during aperation than the bare electrades and because af better graave unifarmity achieved by them.
The air pressure used is 55 to. 70 N/cm2 with an airflow rate af 85 to.145 lit/min. Where campressed air lines are not available, arc gouging tarches suitable for lightwark can be operated on gas from campressed gas cylinders at pressures as law as 30 N/cm2.
Arc gouging torches are generally air-cooled but those intended for applications at higher currents are water-cooled. The correct use of arc gouging with carbon-based electrodes usually causes no carbon pick-up and does not affect corrosion resistance of the parent material. A thin hardened zone may appear, by gouging, in some metals but subsequent welding remelts this zone and reduces the hardness.
Heat penetration is shallower with arc gouging than with oxygen cutting, so arc gouging produces less distortion. Air carbon arc process is widely used for gouging, joint edge preparation and for removing defective weld metal. It is also used for scraping of metal objects-by cutting.
Modes of Welding
All the afore described welding and allied processes are used in fabrication industries in different modes depending upon the volume of production involved, nature of joint, material and its thickness, and the accessibility of the spot to be welded.
In most of the welding methods the following sequence is required to be followed to achieve the end product assuming, however, that the preliminary operations like cleaning, edge preparation, and the fixing of tab-in and tab-out plates have already been accomplished.
1. Assemble parts by tack welding or by employing jigs and fixtures.
2. Present the assembled workpiece to the machine or vice versa.
3. Initiate welding by striking the arc for fusion welding or by bringing electrodes in contact with the work and switching on the current for resistance welding.
4. Create relative movement between the welding head and the work to attain the desired welding speed.
5. Control the welding variables like arc voltage, welding current, wire feed rate, etc. to control the arc length in the case of arc welding processes and to control the depth of molten metal and slag pool in Electroslag welding.
6. Stop welding by stopping the relative movement between the welding head and the work. If weld pool crater is to be filled then the crater filler will become operative before the current is switched off automatically.
7. Shift the welding head to the position wherefrom the next welding cycle is to be initiated.
8. Remove the completed work. This operation may be done before or after repositioning the welding he&dor both operations may be carried out simultaneously.
To accomplish the above task anyone of the following four techniques may be employed.
(i) Manual welding,
(ii) Semi-automatic welding,
(iii) Automatic welding,
(iv) Automated welding.
Manual Welding
It implies that all the eight operations ofwelding sequence are carried out manually. Note, however, that stage 4 that is 'the relative movement between the welding head and the work' may include some mechanical assistance such as a welding manipulator which moves the workpiece at approximately the right speed for welding. One such manipulator called gravity welder is shown in Fig. 1.47 in which the welder winds up the weight, then controls rotational speed of the circular table by holding the edge and letting it run through his fingers at the desired speed enabling him to produce neater, continuous welds on circular seams in the downhand welding position. Manual welding is most popular with SMAW,GTAW,plasma arc welding, and oxy-fuelgas welding processes.
Semi Automatic Welding
In this mode of operation stage 5 that is 'the control of welding variables such as wire feed speed in GMAWor the duration of current in resistance welding with a gun welder is automatic' but the means of welding are held in hand. Stage 4, that is 'the relative movement between the welding head and the work' is normally manual but mechanical means like conveyor belt or work manipulator may be employed. Thus, GMAWprocess can be used in conjunction with gravity motor to improve the quality and productivity in welding .
Various operations in stages 3 and 6 that is 'initiation and stoppage operation' can be carried out in sequence automatically with the help of a single on-off switch. The semi-automatic welding mode is most popular with GMAW and FCAW.Though it is possible to use this technique with GTAW,SAW,and ESW processeE'but it is rarely done.
Automatic Welding
It is a welding mode in which at least stage 5, that is 'the control ofwelding variables' and stage 4 i.e. the relative movement between the welding head and the work' are automatic. Usually a single switch working through a sequencing device operates the controls for power and consumables like wire and gas. This may also bring crater-filling device, if incorporated, into action automatically. Fig. 1.48 shows a block diagram for a typical automatic welding system. In an automatic welding mode stages 1, 2, 7 and 8 are carried out by hand or initiated manually. By above logic,gravity welding" is classified as a portable automatic welding method. The automatic welding mode is most popular with SAW and ESW processes. It is also used, to a limited extent, with GTAW, GMAW,FCAW,and plasma arc welding processes.
In automated welding mode all eight stages from assembly and transfer of the parts to the welding head are performed without adjustment of controls by a welding operator. The welding which may be completed in one or more stages, and the final ejection of the completed parts, are carried out mechanically without manual intervention. An important aspect of automated' welding is that the operator need not continuously monitor the operation. Compared to automatic welding this tends to increase productivity, improve quality, and reduce operator fatigue.· Fig. 1.49 shows a schematic diagram for an automated welding system employing mini-computer, multi-prograli:lmer, and a seam tracing unit. The automated welding mode is populary used with SAW, GMAW,and FCAW processes. To a limited extent GTAW, PAW, and ESW processes are also used in automated modes. Automated welding systems often employ Adaptive Controls to accomplish two aims viz., seam tracking and quality control. Apart from the conventional automated systems this mode of welding is used for remote welding and robotic welding.
Remote Welding
Remote welding is similar to automated welding in that the welding operator is not at the welding location and may be at a great distance from it. While conventional automated system is designed normally for making the same identical weld time after. time, Remote welding usually involves maintenance operations where each weld may be different from the previous one. Remote welding is becoming more widely used with the increased establishment of nuclear power plants. In general, it is performed where humans cannot be present because of a hostile atmosphere, such as where high level of radioactivity exists. One ofthe typical applications of remote welding is the sealing of radioactive materials into metal containers. Sealing of fuel elements and target rods in nuclear industry is also accomplished by remote welding.
Robotic Welding
Robotic welding is a more fascinating aspect of automated welding as articulated robots * can closely emulate the productive actions of a man in the welding environment, and within limits provide an acceptable alternative for performing many of the monotonous and thus fatiguing tasks that are to be encountered in industry in abundance. In such situations a rohot can be cost effective solution to many welding tasks. Apart from cost reduction by increased productivity; other advantages of robots are that of consistent accuracy, minimum wastage of materials and stabilized labour charges.
Positions In Welding
Depending upon the position during welding all butt and fillet welds in plates are classified into four basic groups viz., downhand or flat, horizontal, vertical, and overhead welds. According to internationally accepted norms a downhand or flat weld is a weld in any direction on a horizontal surface; a horizontal weld is one running horizontally on a vertical surface, a vertical weld is that which runs vertically on a vertical surface haenadd.an overhead weld is one that is deposited above the oper!ltor's Butt and fillet welds in pipes are classified in a slightly different way depending upon not only the type of weld i.e. butt or fillet weld but also whether the pipe is held stationary or rotated. Further classification is also based on the inclination of the pipe and whether there is any restricting ring on it to interfere with the welding operation. All these positions of welds as per US (UK) and ISO (International Standards Organisation) standards are given in Figs. 1.50 to 1.54. While Fig. 1.50 gives the standard welding positions for butt welds in plates and pipes, Fig. 1.51 gives detailed configurations for test welds in positions 5G and 6 GR for pipes. The standard welding positions for fillet welds in plates and pipes are illustrated in Fig. 1.52, and Fig. 1.53 shows the basis on which the main welding positions are defined as per ISO. Fig. 1.54 shows the standard welding positions for stud welding alongwith their limits of operation.
----------------------
Comments